1、权限管理
从顶部导航进入企业管理后台;拥有系统管理权限的——系统管理员,在左侧导航出现权限管理入口
-
默认的权限管理,按照权限视图查看
-
可设置的管理类型有13类
-
系统管理员
-
CRM管理员
-
工作观察者
-
部门与员工管理员
-
公告管理员
-
话题管理员
-
日志管理员
-
指令/任务管理员
-
审批管理员
-
人事管理员
-
表格管理员
-
报数管理员
-
微营销管理员
-
网盘管理员
-
管理员设置
-
分配管理员: 1、添加权限入口侧滑:添加权限人 入口
2、添加权限操作点击:“添加权限人”弹出新增人员控件。将左侧“未选员工”添加到“已选员工”,提交后对应的管理员赋权成功
-
取消授权操作: 1、选择要取消权限的人员,上方弹出取消授权入口,确认后取消授权生效 2、可以批量进行取消授权
-
日志管理员: 1、日志管理员有额外的“编辑管理范围” 2、当作为日志管理员被限定编辑范围后,在后台日志导出的时候,只能导出对应管理范围内的日志内容
-
可以选择按照人员查看权限管理
-
为了可以方便调整某个人员的角色,可以针对某个人员进行选择并调整
2、部门与员工管理
-
公司组织架构
-
员工信息导入 1、入口:点击右上角的“更多设置”出现“导入员工信息”
2、步骤:点后出现导入的提示步骤
3、管理员先下载导入模版,填入内容后,执行导入动作
-
添加员工
-
管理后可以直接在后台:单个添加员工
-
每个员工只有一个:主属部门,但是可以有多个附属部门
-
可以添加员工汇报对象,也可以设置无汇报对象。但是两个人不能互为汇报对象
-
编辑部门
-
可以添加:下级部门和平级部门
-
可以对选中的部门进行编辑
-
每个部门:设置一个部门负责人(部门负责人可以属于当前部门,也可以不属于当前部门)
-
每个部门:可以设置多个工作观察者,用于收取当前部门触发的Feed信息
-
组织架构信息完善
-
若有部门未设置部门负责人,均会给出提示
-
若有员工未设置主属部门,均会给出提示
-
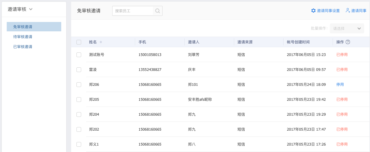
邀请审核
-
入口
-
管理员可以在此处理审核进入的员工 1、免审核邀请信息 2、待审核邀请 3、已审核邀请
-
已停用
-
已停用部门
-
已停用员工 1、管理员均可以针对停用的部门和员工进行处理 2、可以批量处理成:启用
3、账号安全
-
移动设备管理
-
强制员工扫码登录:如员工通过帐号密码登录,则需用安全设备再次扫码验证,保障帐号安全。
-
授权记录:默认记录了员工在哪台设备上进行了登录授权
-
授权多设备账号:记录了用户账号在多少台设备上进行过授权 点击多设备条目,可以查看所有授权过的记录情况
-
单日多设账号使用的设备: 若公司想查看:同一个设备下登录了多个公司账号情况,可以在此查看(代打卡)
-
单日适用多设备的账号: 若公司单账号在哪些设备上登录过,可以在此查看
-
登录日志 公司内员工在当天登录情况查看(若员工如果在客户端记录了账号密码,而直接打开客户端,不会记录登录情况,此处记录当日请求登录的情况)
-
异常登录 企业员工若有一些异常登录情况,可以在此查看登录异常日志记录
4、企业设置
-
工作设置
-
修改汇报对象权限: 1、默认均可修改自己的汇报对象 2、公司可以根据自己情况设定,是否允许自己修改汇报对象
-
邀请新同事权限 1、公司开始初始化时,可以打开允许员工邀请新同事,方便员工快速入驻 2、如果选择禁止邀请,除系统管理员外,普通员工不可以邀请其他同事进入
-
信息发送范围设置 1、为避免员工在发送信息时,随便勾选“全公司”,可以选择对部分员工禁止发布全公司信息; 2、被禁止的员工及部门内的成员在发布信息(分享、日志、审批、任务、指令、日程和公告)时,发送范围不可选择“全公司” 3、禁止名单可以是:人员、部门
-
部门群组设置 1、打开部门群组设置,员工会自动以“部门”为维度形成企信群组
-
通讯录隐私设置
-
可以针对新加入的员工进行隐私设置: 1、公开 2、私密 3、本部门可见
-
后台管理员可以修改不同员工的通讯录状态 1、设为公开 2、设为私密
-
企业信息
-
可以设置 1、企业名称 2、企业logo 3、登录首页的显示方式
-
删除信息
-
若公司内有些敏感信息,被无意扩大了抄送范围,公司希望可以删除时,可再次操作
-
登录web,查看Feed详情信息,链接最后ID为当前信息ID
-
复制要删除的信息ID
-
点击“删除”后,信息即可删除成功
-
信息可以批量删除
-
删除后的信息不可恢复
5、管理日志
-
管理员在后台一系列操作动作在管理后台均可查看








